logo

会员登录

用户登录 评委登录
一周内自动登录 建议在公共电脑上取消此选项
一周内自动登录 建议在公共电脑上取消此选项
依据工信部新规要求,运营商部署做出调整,现部分用户无法获取短信验证码(移动运营商为主)。如遇收不到短信验证码情况,请更换其他手机号(联通、电信)尝试,有疑问请电话咨询:18912606905、18136127515。
一周内自动登录 建议在公共电脑上取消此选项
手机验证码登录 还未账号?立即注册

会员注册

*依据工信部新规要求,运营商部署做出调整,现部分用户无法获取短信验证码(移动运营商为主)。如遇收不到短信验证码情况,请更换其他手机号(联通、电信)尝试,有疑问请电话咨询:18912606905、18136127515。
已有账号?
医械创新资讯
医械创新资讯

国家通知,医保基金即时结算

日期:2025-08-04
浏览量:25289

近日,国家医保局办公室印发《基本医保基金即时结算经办规程(试行)》的通知(文末附全文),明确医保基金即时结算业务流程。

图片

01

医保基金即时结算

业务流程来了


即时结算是指按照基本医保基金预算管理和医疗费用结算管理的相关要求,通过压缩结算时间、推进逐笔申报拨付、按月预拨等创新路径,向定点医药机构拨付医保资金的结算方式。

业务流程如下:

第八条通过优化医保基金结算清单上传、智能审核等流程,压缩费用对账、申报受理、基金拨付等工作时限,提高即时结算效率。

第九条通过按月预拨路径开展即时结算的,应按月将一定比例医保基金预拨给定点医药机构,同步审核、扣款,绩效考核与年度清算挂钩。通过压缩结算时间、推进逐笔申报拨付两种路径开展即时结算的,可不开展按月预拨。

第十条参保人在定点医药机构联网结算时,医保信息平台按照相关业务规则计算其医保待遇(包括基金支付、个人负担等),并将参保人结算信息回传给定点医药机构。

第十一条定期与定点医药机构开展对账,明确按月、旬、周、日对账,确保双方结算数据准确一致。

第十二条定点医药机构通过医保信息平台上传医药费用信息,按要求定期向医保部门申报医药费用。

第十三条依托医保信息平台对定点医药机构上传的医药费用进行智能审核全覆盖,对疑点数据进行人工审核。按一定比例开展人工随机抽审。各地可根据工作实际探索拨审分离,可先拨后审,即审即拨,确认违规费用月度抵扣。

第十四条各地根据当年医保基金预算、往年医保基金支出等情况,合理确定即时结算拨付比例。医保信息平台按比例计算拨付金额后,生成拨付凭证。

第十五条通过医保信息平台将拨付凭证推送至医保基金开户银行。开户银行接收拨付凭证后,按要求及时将医保基金拨付至定点医药机构,并生成拨付回单。

第十六条按照规定开展月结算工作,月结算时应扣除即时结算等已拨付资金。特例单议实行按月结算的,要及时组织专家评议,根据评议结果及时予以结算;实行年底统一清算的,要对特例单议按月给予一定比例的预拨,年底再进行清算。月结算办理时限为定点医药机构申报截止次日起不超过20个工作日。

第十七条做好即时结算与年度清算的衔接,按照相关规定开展年度清算工作,指导定点医药机构及时做好财务处理等工作。

第十八条如遇特殊情况,导致即时结算资金无法正常拨付的,原则上累计顺延拨付。

02

2026年所有统筹地区实现即时结算


1月9日,国家医保局办公室发布《国家医疗保障局办公室关于推进基本医保基金即时结算改革的通知》提出,2025年全国80%左右统筹地区基本实现即时结算,2026年全国所有统筹地区实现即时结算。

具体来看,基本医保基金即时结算改革分为试点实施阶段(20251-5月)、评估总结阶段(20256月)、全面启动阶段(20257-12月)、全面实现阶段(2026年)。

即将进入8月,全面启动医保基金即时结算工作,2025年80%左右统筹地区要基本实现即时结算。

通知进一步提出,各地要结合实际,选择不限于以下三种方式推进即时结算。

(一)优化传统结算方式,压缩月结算时长。

最大限度压缩月结算周期,全面压缩医保基金结算清单上传质控、对账、申报、智能审核、请款、拨付等工作时间,审核后5个工作日内完成拨付。

图片

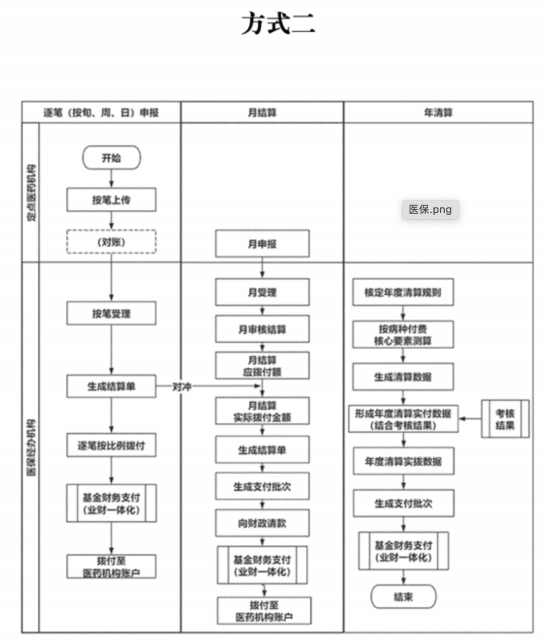
(二)推进逐笔申报拨付,提高拨付频次。

将月批量申报拨付,提速至旬、周、日;鼓励逐笔申报、逐笔按比例拨付。在原有月结算、年度清算流程基础上,增加拨付次数。

图片

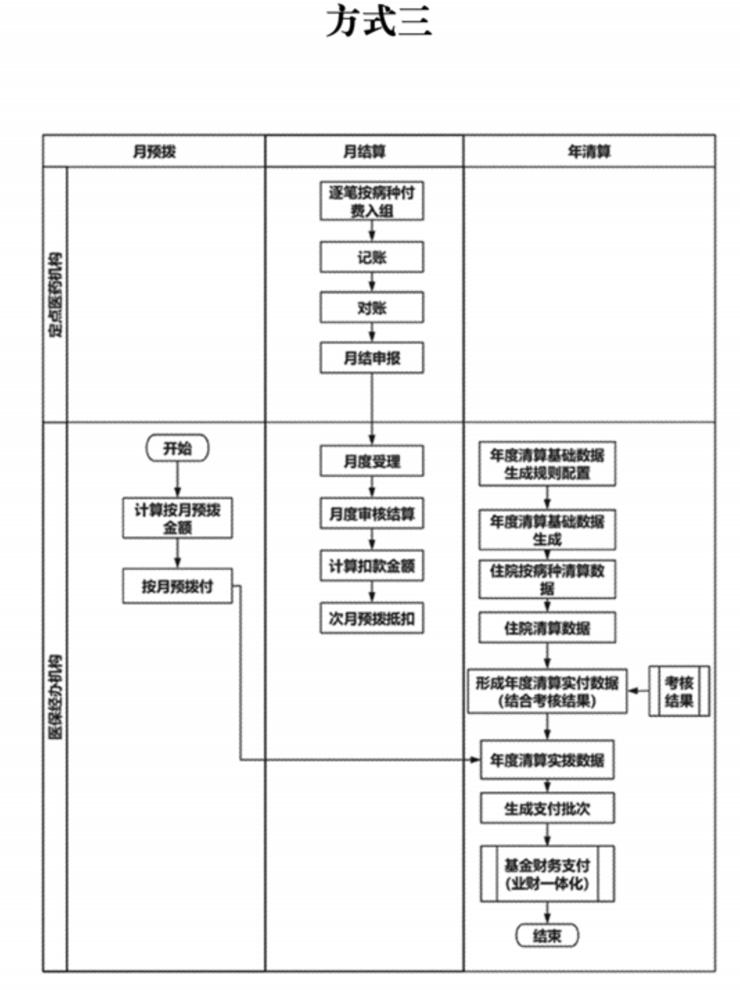
(三)按月预拨,逐笔入组记账。

依据当年基金预算、往年月基金支出规模,按月提前拨付医保基金给定点医药机构。逐笔按病种付费入组、记账,同步审核、扣款,绩效考核与年度清算挂钩。

图片


附:


图片





▲文章来源:赛柏蓝器械
▲转载请标注以上来源


声明:本文仅作信息传递之目的,仅供参考。本文不对投资及治疗构成任何建议,请谨慎甄别。如涉及作品内容、版权和其它问题,为保障双方权益,请与我们联系,我们将立即处理。如有平台转载本篇文章,须自行对该篇文章负责,医疗器械创新网不对转载引起的二次传播负责。

往期推荐

BD,1254亿元出售!

被罚32亿,强生不服

52亿元!巨头被私有化退市

械企IPO进程竞速:谁能接棒北芯生命?

返回列表