logo

会员登录

用户登录 评委登录
一周内自动登录 建议在公共电脑上取消此选项
一周内自动登录 建议在公共电脑上取消此选项
依据工信部新规要求,运营商部署做出调整,现部分用户无法获取短信验证码(移动运营商为主)。如遇收不到短信验证码情况,请更换其他手机号(联通、电信)尝试,有疑问请电话咨询:18912606905、18136127515。
一周内自动登录 建议在公共电脑上取消此选项
手机验证码登录 还未账号?立即注册

会员注册

*依据工信部新规要求,运营商部署做出调整,现部分用户无法获取短信验证码(移动运营商为主)。如遇收不到短信验证码情况,请更换其他手机号(联通、电信)尝试,有疑问请电话咨询:18912606905、18136127515。
已有账号?
医械创新资讯
医械创新资讯

迈瑞,成立新公司!

日期:2026-01-05
浏览量:4683
图片

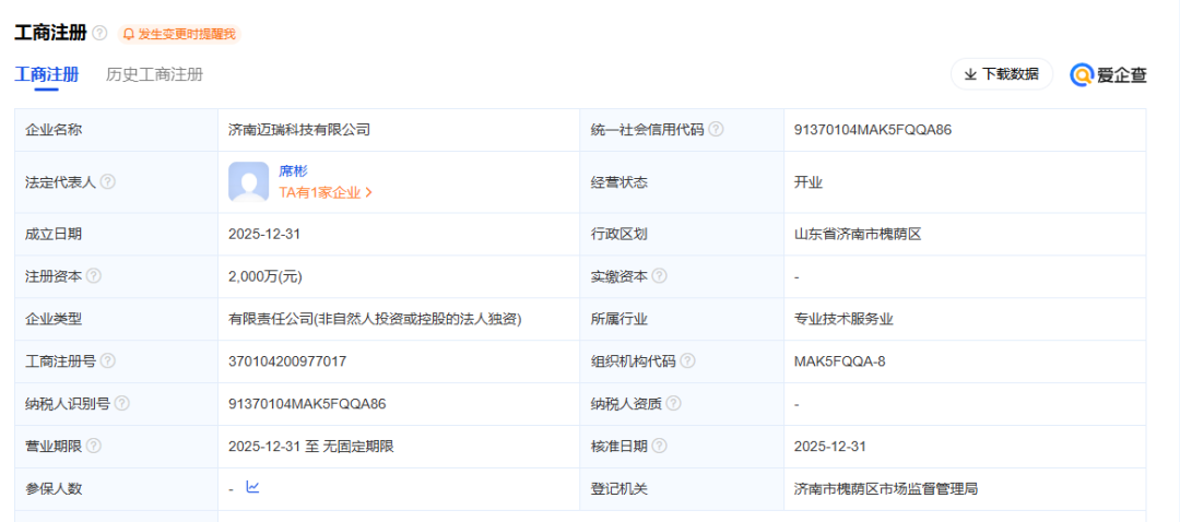
据爱企查工商信息显示,2025年12月31日,济南迈瑞科技有限公司成立。


济南迈瑞科技有限公司注册地位于山东省济南市槐荫区吴家堡街道济齐路365号济南精准医学产业园1号研发试验楼4层401-3号(一址多照),法定代表人为席彬,注册资本2000万人民币。


图片


经营范围包括:
一般项目:技术服务、技术开发、技术咨询、技术交流、技术转让、技术推广;仪器仪表制造;第一类医疗器械生产;仪器仪表销售;货物进出口;技术进出口;进出口代理。许可项目:第二类医疗器械生产;第三类医疗器械生产。

该公司由迈瑞医疗全资持股。


图片


据公开报道,法人代表席彬为迈瑞医疗中国区生命信息与支持总经理。


图片


此前,2025年9月12日,济南市委书记刘强会见了迈瑞医疗董事长李西廷一行。


222.jpg


会见后,济南市人民政府、深圳迈瑞生物医疗电子股份有限公司签署战略合作框架协议。济南市卫生健康委员会、济南国际医学中心管理委员会、深圳迈瑞生物医疗电子股份有限公司签署战略合作框架协议。







▲文章来源:IVD资讯整合自爱企查
▲转载请标注以上来源

声明:本文仅作信息传递之目的,仅供参考。本文不对投资及治疗构成任何建议,请谨慎甄别。如涉及作品内容、版权和其它问题,为保障双方权益,请与我们联系,我们将立即处理。如有平台转载本篇文章,须自行对该篇文章负责,医疗器械创新网不对转载引起的二次传播负责。

图片

往期推荐

财务造假,医械龙头企业退市倒计时

迈瑞,再次出手!

奥林巴斯,新品

苏州这一械企,拿下近亿元融资!

图片

返回列表