logo

会员登录

用户登录 评委登录
一周内自动登录 建议在公共电脑上取消此选项
一周内自动登录 建议在公共电脑上取消此选项
依据工信部新规要求,运营商部署做出调整,现部分用户无法获取短信验证码(移动运营商为主)。如遇收不到短信验证码情况,请更换其他手机号(联通、电信)尝试,有疑问请电话咨询:18912606905、18136127515。
一周内自动登录 建议在公共电脑上取消此选项
手机验证码登录 还未账号?立即注册

会员注册

*依据工信部新规要求,运营商部署做出调整,现部分用户无法获取短信验证码(移动运营商为主)。如遇收不到短信验证码情况,请更换其他手机号(联通、电信)尝试,有疑问请电话咨询:18912606905、18136127515。
已有账号?
医械创新资讯
医械创新资讯

全国联采!1类高值耗材集采重磅启动

日期:2025-11-17
浏览量:2082

福建发布结构心脏病封堵器集采正式文件,集采规模覆盖全国。


01

31省

申报工作现已开启


近日,福建省医疗保障局发布《结构心脏病封堵器类医用耗材省际联盟集中带量采购公告》第1号和第2号文件(以下简称:《公告》),结构心脏病封堵器类耗材集采正式启动。(文末点击阅读原文了解详情)


图片来源:福建省医疗保障局


据《公告》,本次联盟集采规模十分庞大,全国各省、自治区、直辖市(不含港澳台)共同组成采购联盟,日常工作和具体实施则由福建省药械联合采购中心承担。


本次采购品种为1类高值耗材,结构心脏病封堵器及其输送系统类耗材,包含但不限于国家医保局医用耗材分类与代码前7位为 C020301、C020302 开头的产品,其中不包含可降解封堵器及其输送系统。具体采购品种为左心耳封堵器、房间隔缺损封堵器、室间隔缺损封堵器、动脉导管未闭封堵器、卵圆孔未闭封堵器,及上述5类封堵器的输送系统。


值得注意的是,本次集采规模虽较为庞大,但并非31省均参与各类耗材细分品种的集采工作,5类耗材中,仅卵圆孔未闭封堵器及其输送系统为全国参与,具体如下。


资料来源:福建省医疗保障局


并且,本次耗材集采的采购模式较以往有所差异,设定了组套采购模式与单件采购模式


资料来源:福建省医疗保障局


基于采购模式的差异,二者模式获得拟中选资格的方式也有所不同:

  • 组团采购模式中:左心耳封堵器及其输送系统、动脉导管未闭封堵器及其输送系统、卵圆孔未闭封堵器及其输送系统的降幅达到30%,房间隔缺损封堵器及其输送系统、室间隔缺损封堵器及其输送系统的降幅达到40%,即可获得拟中选资格;

  • 单件采购模式中:企业加权报价≤组套采购模式中同类拟中选输送系统组件加权报价的中位价的,即可获得拟中选资格。


本次采购周期将自中选结果执行之日起,执行至2028年12月31日。


02

国产产品数量攀升

替代进程大幅加速


随着人口老龄化增长,以及我国医疗水平的大幅上升等趋势影响下,我国患心血管病的患者群体数量持续攀升,预计2025年,符合结构性心脏病介入治疗条件的患者人数将达到600万名,这也大幅带动了结构性心脏病的介入医疗器械的市场份额,据弗若斯特沙利文数据显示,2025年我国该类市场规模将达到104亿元,并且将持续保持高速增长的态势,有望在2030年达到491亿元。


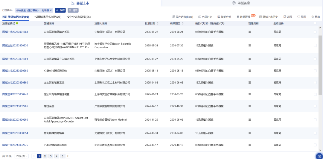
据药智医械数据查询显示,目前我国已上市近百款封堵器类产品,其中从各产品细分类别来看,本次集采覆盖的5类耗材中,房间隔缺损封堵器数量最多,左心耳封堵器类次之,动脉导管未闭封堵器第三,室间隔缺损封堵器第四,卵圆孔未闭封堵器数量最少。


图片来源:药智医械数据


本土械企进一步快速发展下,国产产品的占比已达到78.57%,并且在企业排行中,前十的企业也多为本土械企。但值得注意的是,虽然目前国产产品数量较多,且在先心病封堵器领域内占据主导地位,但此前由于起步较晚、技术壁垒等因素,部分细分领域,尤其是高端领域内仍由外资品牌所主导,如左心耳封堵器领域中,波科一度占据主导地位。


不过,随着越来越多颇具潜力和技术优势的国产产品上市,以及集采常态化趋势下,国产替代进程将得以进一步加速。


03

结   语


本次,结构心脏病封堵器类耗材迎来大规模集采,此前价格高昂的多类封堵器价格将得以大幅释放,随着集采进程的推进,也将惠及更多患者群体。







▲文章来源:药智医械
▲转载请标注以上来源

声明:本文仅作信息传递之目的,仅供参考。本文不对投资及治疗构成任何建议,请谨慎甄别。如涉及作品内容、版权和其它问题,为保障双方权益,请与我们联系,我们将立即处理。如有平台转载本篇文章,须自行对该篇文章负责,医疗器械创新网不对转载引起的二次传播负责。

往期推荐

财务造假,医械龙头企业退市倒计时

迈瑞,再次出手!

奥林巴斯,新品

苏州这一械企,拿下近亿元融资!

返回列表