logo

会员登录

用户登录 评委登录
一周内自动登录 建议在公共电脑上取消此选项
一周内自动登录 建议在公共电脑上取消此选项
依据工信部新规要求,运营商部署做出调整,现部分用户无法获取短信验证码(移动运营商为主)。如遇收不到短信验证码情况,请更换其他手机号(联通、电信)尝试,有疑问请电话咨询:18912606905、18136127515。
一周内自动登录 建议在公共电脑上取消此选项
手机验证码登录 还未账号?立即注册

会员注册

*依据工信部新规要求,运营商部署做出调整,现部分用户无法获取短信验证码(移动运营商为主)。如遇收不到短信验证码情况,请更换其他手机号(联通、电信)尝试,有疑问请电话咨询:18912606905、18136127515。
已有账号?
医械创新资讯
医械创新资讯

涉19条司法案!一IVD公司破产重整!又被限高!

日期:2025-10-08
浏览量:3357

刚刚!又一IVD企业被列入被执行人、限制高消费!

此外,约一年前便申请破产!半年前股权冻结!



近日,小编从相关网站获悉:深圳澳东检验检测科技有限公司被列入被执行人、限制高消费!


image.png


据了解,深圳澳东检验检测科技有限公司成立于2004-09-23,所属行业为商务服务业,经营范围包含:运用分子检测技术开发兽用实验室、公共卫生实验室和食品安全实验室用专业的检测试剂并销售;分子类快速检测仪器的开发和销售;提供分子生物技术服务;生物技术产品(不含限制项目)和实验室仪器设备耗材的代理销售;展览展示策划;国内贸易;经营进出口业务、医疗器械、检测试剂产品的开发、生产、销售及相关信息咨询。企业当前经营状态为存续。


01
被列入被执行人、限制高消费


2025年9月4日,深圳澳东检验检测科技有限公司被列入被执行人,被执行总金额: 141.22 万元。


image.png


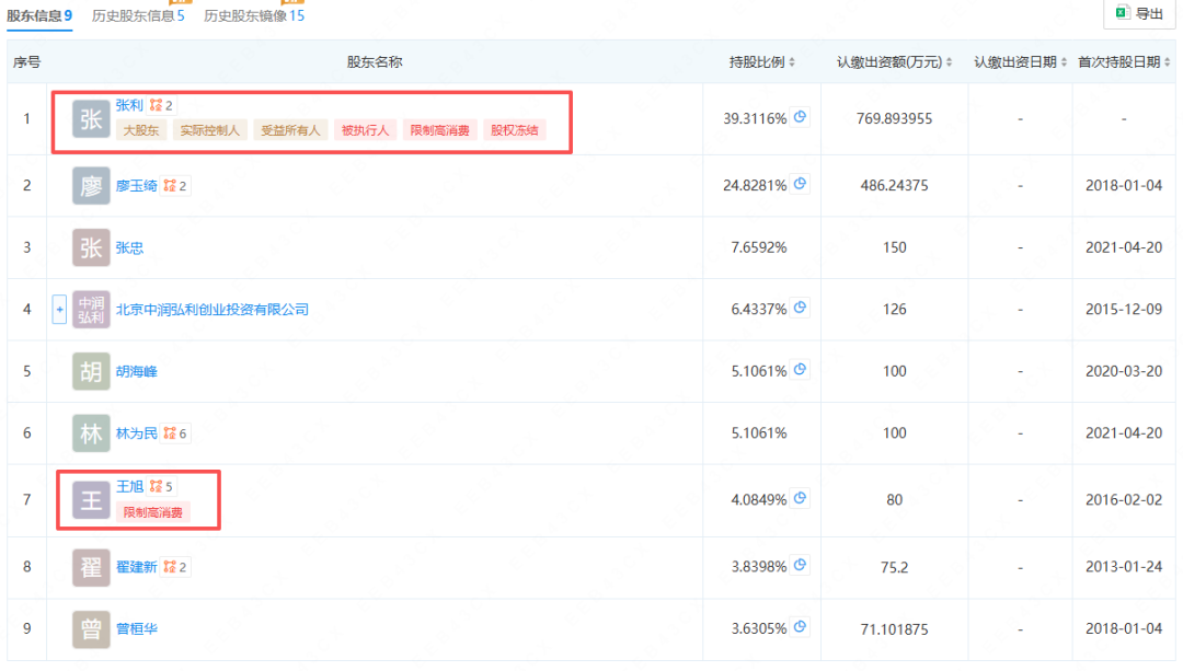
此外,深圳澳东检验检测科技有限公司的大股东以及法定代表人被限制高消费。


image.png
image.png


02
半年前股权冻结


此外,2025年1月2号股权冻结,冻结股权数额分别为308.615268万和461.278687万。


image.png
image.png


03
1年前破产重整


2024年7月8日,深圳澳东检验检测科技有限公司进行破产申请。


image.png


04
身为被告,涉及19条司法案件


深圳澳东检验检测科技有限公司身为被告,共涉及19条司法案件,案件金额 1,046.88 万元。


image.png

深圳澳东检验检测科技有限公司被列入被执行人,执行标的141.22万元,并且限制高消费,其大股东及法定代表人同样被限高,这是该企业危机持续深化的表现。事实上,澳东检验的困境早有征兆:早在一年前便已申请破产重整,半年前又遭遇两笔重大股权冻结同时作为被告涉及19起司法案件,总金额高达千万元,显示出其已陷入严重的司法及债务纠纷。

从行业视角看,澳东检验的案例是后疫情时代部分IVD企业生存现状的一个缩影。企业成立于2004年,业务曾覆盖分子检测、食品安全及医疗器械等多个领域,但显然未能将早期的技术布局有效转化为可持续的运营能力。这一连串从破产、股权冻结到成为被执行人的连锁事件,不仅反映了企业自身在资金链、内部管理上可能存在的根本问题,也警示同行,在行业竞争加剧、市场回归常态的背景下,企业的战略韧性与合规经营变得至关重要。







文章来源:体外诊断网
▲转载请标注以上来源

声明:本文仅作信息传递之目的,仅供参考。本文不对投资及治疗构成任何建议,请谨慎甄别。如涉及作品内容、版权和其它问题,为保障双方权益,请与我们联系,我们将立即处理。如有平台转载本篇文章,须自行对该篇文章负责,医疗器械创新网不对转载引起的二次传播负责。

往期推荐

财务造假,医械龙头企业退市倒计时

迈瑞,再次出手!

奥林巴斯,新品

苏州这一械企,拿下近亿元融资!


返回列表