logo

会员登录

用户登录 评委登录
一周内自动登录 建议在公共电脑上取消此选项
一周内自动登录 建议在公共电脑上取消此选项
依据工信部新规要求,运营商部署做出调整,现部分用户无法获取短信验证码(移动运营商为主)。如遇收不到短信验证码情况,请更换其他手机号(联通、电信)尝试,有疑问请电话咨询:18912606905、18136127515。
一周内自动登录 建议在公共电脑上取消此选项
手机验证码登录 还未账号?立即注册

会员注册

*依据工信部新规要求,运营商部署做出调整,现部分用户无法获取短信验证码(移动运营商为主)。如遇收不到短信验证码情况,请更换其他手机号(联通、电信)尝试,有疑问请电话咨询:18912606905、18136127515。
已有账号?
医械创新资讯
医械创新资讯

8月8日前!事关2类耗材集采,该省共有8个集采项目......

日期:2025-08-07
浏览量:4588

文章来源:Eshare医械汇

厦门发布2类耗材集采征求意见稿......


01

厦门牵头2类耗材集采

2025年8月1日,厦门医保局发布《关于公开征求一次性使用有创血压传感器、一次性使用宫颈扩张球囊两类医用耗材全省性联盟集中带量采购文件(征求意见稿)意见的通知》,将牵头开展有创血压传感器、宫颈扩张球囊全省性联盟带量采购。8月8日17:00前可提出意见或建议。

图片

采购周期:

采购周期为2年。


采购品种:

采购品种为一次性使用有创血压传感器、一次性使用宫颈扩张球囊。


采购主体:

联盟地市所有公立医疗机构(含军队医疗机构)均应参加,鼓励医保定点社会办医疗机构参与。参与采购的地市为省本级、福州市、厦门市、漳州市、泉州市、三明市、莆田市、南平市、龙岩市、宁德市、平潭综合实验区。


最高有效申报价:

图片


02

拟中选规则
淘汰末位若干企业,竞价单元1有复活机会

分组规则:

同一申报企业所有申报产品的医疗机构采购需求量加总求和后,按照从大到小依次排序,根据下列规则划分为2个竞价单元:


竞价单元1:

累计采购需求量前90%所涵盖的企业数(如企业数<4家,按照采购需求量排序依序递补至4家;如有创血压传感器涵盖企业>7家、宫颈扩张球囊涵盖企业>6家,则分别按采购需求量从大到小排序前7家、前6家企业纳入竞价单元1)。


竞价单元2:

纳入竞价单元1以外的申报企业(如竞价单元2的企业家数<4家,并入竞价单元1,竞价单元2取消)。



拟中选规则:

申报企业按下列规则进行淘汰,若拟中选,则该企业所有申报产品均拟中选。采购需求量涵盖但未按规定报价的企业按末位排名并占淘汰指标。


1. 一次性使用有创血压传感器

(1)竞价单元1:淘汰本竞价单元企业排名最末位的企业,其余企业获得拟中选资格。满足以下两种条件之一的被淘汰企业仍可获得拟中选资格:

●  企业报价不高于竞价单元2中选企业的最高企业报价;

●  企业降幅达30%。

(2)竞价单元2:淘汰本竞价单元企业排名后50%的企业(如出现非整数则向下取整至个位,下同),其余企业获得拟中选资格。


2. 一次性使用宫颈扩张球囊

(1)竞价单元1:淘汰本竞价单元企业排名最末位的企业,其余企业获得拟中选资格。满足以下两种条件之一的被淘汰企业仍可获得拟中选资格:

●  企业报价不高于竞价单元2中选企业的最高企业报价;

●  企业降幅达80%。

(2)竞价单元2:淘汰本竞价单元企业排名后50%的企业,其余企业获得拟中选资格。



分量规则:

竞价单元1排名末两位企业需调出分配量


1. 剩余量分配

(1)调出分配量

将竞价单元1排名末两位中选企业的采购需求量纳入调量范围,最末位、次末位企业分别调出各自申报产品采购需求量的30%、20%作为调出分配量。

(2)剩余采购需求量

未中选企业100%的需求量和中选企业调出分配量组成剩余采购需求量,由医疗机构在不纳入调量范围的中选产品(不区分竞价单元)中进行自主分配确认。


2. 中选产品首年协议采购量构成如下:

(1)不纳入调量范围的中选企业

协议采购量 = 医疗机构申报的采购需求量 + 医疗机构在剩余采购需求量中选择分配的采购需求量。 

(2)纳入调量范围的中选企业

协议采购量 = 医疗机构申报的采购需求量 - 调出分配量。



03

8大项目!福建省级耗材集采“爆发”
2025年2月17日,福建省医保局发布的《关于印发2025年全省医疗保障工作要点的通知》提出:大力推进地市普耗集采改革,原则上具备条件地市至少承担1项普耗全省联盟集采任务,年底前全省集采药品、耗材力争达到800种、70类。

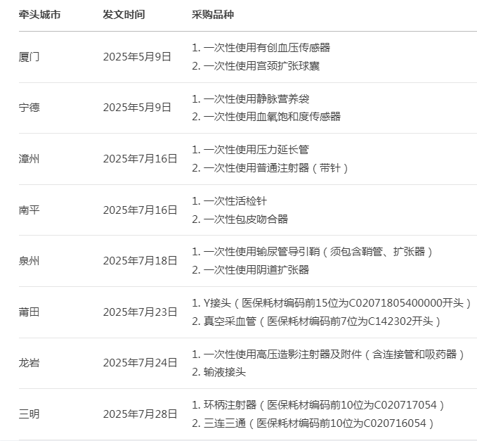
今年以来,福建省陆续发布多则产品信息维护等相关通知,开展带量采购前期的准备工作。截至目前,已有三明、龙岩、莆田、泉州、南平、宁德、厦门、漳州等八市发文计划牵头开展耗材全省性联盟集采,采购品种累计已达十六种。截至目前,2025年福建省明确已发文开展的地市牵头全省性联盟带量采购已达8个!
图片

1.厦门牵头:

发文时间:2025年5月9日

采购品种:

1.一次性使用有创血压传感器

2.一次性使用宫颈扩张球表


2.宁德牵头:

发文时间:2025年5月9日

采购品种:

1.一次性使用静脉营养袋

2.一次性使用血氧饱和度传感器


3.漳州牵头:

发文时间:2025年7月16日

采购品种:

1.一次性使用压力延长管

2.一次性使用普通注射器(带针)


4.南平牵头:

发文时间:2025年7月16日

采购品种:一次性活检针、一次性包皮吻合器


5.泉州牵头:

发文时间:2025年7月18日

采购品种:

一次性使用输尿管导引鞘(须包含鞘管、扩张器)和一次性使用阴道扩张器


6.莆田牵头:

发文时间:2025年7月23日

采购品种:

1.Y接头,包括但不限于国家医保耗材编码前15位为C02071805400000开头产品

2.真空采血管,包括但不限于国家医保耗材编码前7位为C142302开头产品。


7.龙岩牵头:

发文时间:2025年7月24日

采购品种:

一次性使用高压造影注射器及附件(包含连接管和吸药器)和输液接头



8.三明牵头:

发文时间:2025年7月28日

采购品种:

1.环柄注射器,包括但不限于国家医保医用耗材编码前10位为C020717054的产品

2.三连三通,包括但不限于国家医保医用耗材编码前10位为C020716054的产品。






▲文章来源:Eshare医械汇
▲转载请标注以上来源


声明:本文仅作信息传递之目的,仅供参考。本文不对投资及治疗构成任何建议,请谨慎甄别。如涉及作品内容、版权和其它问题,为保障双方权益,请与我们联系,我们将立即处理。如有平台转载本篇文章,须自行对该篇文章负责,医疗器械创新网不对转载引起的二次传播负责。

往期推荐

BD,1254亿元出售!

被罚32亿,强生不服

52亿元!巨头被私有化退市

械企IPO进程竞速:谁能接棒北芯生命?



返回列表